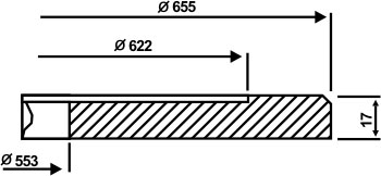
|

| CÓDIGO |
D1 |
D2 |
Ød |
H |
URB
0814 |
17,35 |
26 |
12 |
3,5 |
URB
0817 |
16,5 |
24 |
11 |
3,4 |
URB
0565

URB
0705

URB
1060


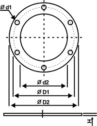
| CÓDIGO |
D1 |
D2 |
d1 |
d2 |
H |
URB
0098 |
359 |
390 |
17(8x) |
290 |
4 |
URB
0640 |
167 |
188 |
12(6x) |
129 |
3 |
URB
0641 |
143,5 |
163,5 |
8(6x) |
99,5 |
3 |
URB
0642 |
130 |
161 |
12(6x) |
97 |
3 |
URB
0738 |
438,5 |
470 |
11,5(12x) |
410 |
4,65 |
URB
0934 |
191,2 |
227 |
20,8(8x) |
105 |
3,5 |
URB
0702

URB
0507

|