Juntas Diversas

URB 0063


URB 1090


URB 0974


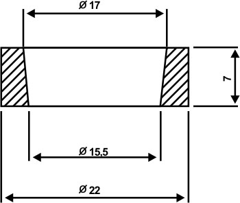
CÓDIGO
D
d
A
H
URB 0833
1109
1077
16
16
URB 1236
57,5
51
6,75
5

URB 0026


URB 0918


URB 0667


URB 0251


URB 0773

CÓDIGO
D1
D2
Ød
H
URB 0814
17,35
26
12
3,5
URB 0817
16,5
24
11
3,4

URB 0565


URB 0705

Páginas | 01 | 02 | 03 | 04 | 05 | 06 | 07