Ventosa

 

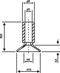
URB 0042


URB 0051


URB 0099


URB 1311


URB 1068


URB 0692


URB 1195